极目新闻记者 王荣海
实习生 张李
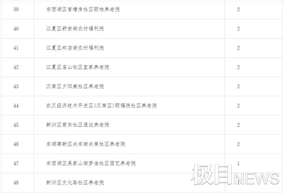
9月22日,武汉市民政局在官网发布,武汉市2020年度养老机构等级评定结果公示。极目新闻记者查询公示的养老机构名单发现,此次参与评级的养老机构主要为社区养老院,评定的等级为一级或二级。
根据《养老机构等级划分与评定》(GB/T 37276-2018)、《市民政局关于印发2020年武汉市养老机构等级评定实施方案的通知》(武民办〔2020〕21号)要求,经过养老机构自愿申报、武汉市民政局资格审查、第三方评定机构实地综合评价、市养老机构等级评定委员会审核表决等程序,现将通过评定的48家养老机构予以公示。公示时间:2021年9月22日-28日,共7天。




公示期间,武汉市养老机构等级评定委员会受理复核申请。(联系电话:027-85736077)。
极目新闻记者查询《2020年武汉市养老机构等级评定实施方案》注意到,养老机构等级评定按照“标准量化、自愿申报、统一评定、公开透明、动态管理”原则,开展等级评定工作,养老机构评定等级从高到低依次为五级(★★★★★)、四级(★★★★)、三级(★★★)、二级(★★)、一级(★)。三级及以上等级评定工作由省民政厅组织实施;一至二级等级评定工作由武汉市民政局依据《养老机构等级划分与评定》和《湖北省养老机构等级评定管理办法(试行)》组织实施。
据悉,养老机构评定等级实行动态管理。养老机构评定等级有效期为3年。前一次等级评定满两年后,可以申请升级评定;评定等级有效期满前3个月,可以申请重新评定。未申请评定或评定未通过的,原评定等级自动失效。等级评定结果作为养老机构信用评价、服务收费价格、评优评先的重要依据,并将建立与运营补贴相挂钩的激励机制。
Copyright © 2001-2026 湖北荆楚网络科技股份有限公司 All Rights Reserved
互联网新闻信息许可证 4212025003 -
增值电信业务经营许可证 鄂B2-20231273 -
广播电视节目制作经营许可证(鄂)字第00011号
信息网络传播视听节目许可证 1706144 -
互联网出版许可证 (鄂)字3号 -
营业执照
鄂ICP备 13000573号-1
鄂公网安备 42010602000206号
版权为 荆楚网 www.cnhubei.com 所有 未经同意不得复制或镜像