极目新闻记者 李贤诚
11月7日下午,山东烟台一辆渣土车在转弯时发生侧翻,砸向对向车道的正在排队的两辆小车,造成一死一伤。11月20日,极目新闻记者从死者家属处获悉,肇事大货车存在非法改装、超载四倍、超速等问题,承担此次事故全责。而该货车背后的货运公司,于2023、2024年连续两年被停业整顿。

被压的小车(图源:视频截图)
根据烟台市公安局交通管理支队11月8日通报,11月7日15时41分许,当事人项某某(男,44岁)驾驶大型载货汽车沿红旗西路由东向西行至电厂东路交叉路口,向北右转弯时,车辆发生侧翻,致使对向一辆轿车被压、一辆轿车受损,造成两辆轿车驾驶人1人死亡、1人轻微擦伤。已排除驾驶人酒驾、毒驾等嫌疑。项某某已被采取刑事强制措施。
11月20日,遇难小车司机的亲属曲先生告诉极目新闻记者,遇难者是他的姐姐,她是当地一所大专的老师,当时被救出来后发现已身亡,殁年44岁。目前遗体停放在殡仪馆,暂未下葬。事发后,肇事大货车背后的运输公司负责人曾出面沟通过一次,对方虽表示全力配合,但自始至终没拿出具体的解决方案。20日上午,他们从交警部门拿到了该起事故的认定书。
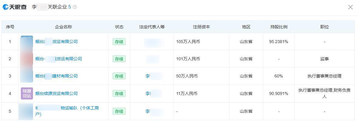
极目新闻记者从这份道路交通事故认定书上获悉,项某某驾驶载货汽车载物超过核定的载质量、超速行驶、操作不当、不按导向行驶的行为,是事故发生的原因,其承担该起交通事故全部责任。记者注意到,涉事车辆存在箱板加高15厘米,超载407%的等情形,货车行驶证车主为“烟台续源货运有限公司”。
“此次事故不仅要追究肇事司机的交通肇事罪,同时我们还认为,这是一场安全生产事故。因为司机不能决定他能拉多少货物,而是背后的老板。车辆超载四倍多,这应该追究涉事公司的相关责任。”曲先生表示,他通过公开信息查询发现,涉事货车背后的货运公司存在多项违法行为被行政处罚,相关部门存在监管不力。


天眼查显示,烟台续源货运有限公司成立于2016年11月24日,法定代表人为李某某,李某某还是烟台当地多家货运及建材公司法定代表人及实控人。烟台续源货运有限公司存在多项行政处罚记录,其中,2023、2024年连续两年被停业整顿。处罚事由载明,涉事企业存在1年内违法超限运输的货运车辆超过本单位货运车辆总数10%,货运经营者还存在擅自改装已取得车辆营运证的车辆等违法行为。
目前,烟台续源货运有限公司是否已停业整顿?20日,极目新闻记者多次致电烟台市交通运输局,工作人员未给予明确答复,表示此事尚在调查中。
Copyright © 2001-2026 湖北荆楚网络科技股份有限公司 All Rights Reserved
互联网新闻信息许可证 4212025003 -
增值电信业务经营许可证 鄂B2-20231273 -
广播电视节目制作经营许可证(鄂)字第00011号
信息网络传播视听节目许可证 1706144 -
互联网出版许可证 (鄂)字3号 -
营业执照
鄂ICP备 13000573号-1
鄂公网安备 42010602000206号
版权为 荆楚网 www.cnhubei.com 所有 未经同意不得复制或镜像